
图片来源于网络,如有侵权,请联系删除
证券之星消息,根据天眼查APP数据显示格力电器(000651)新获得一项发明专利授权,专利名为“热交换器的除余水系统、装置、方法和燃气热水器”,专利申请号为CN202211167298.6,授权日为2025年7月18日。
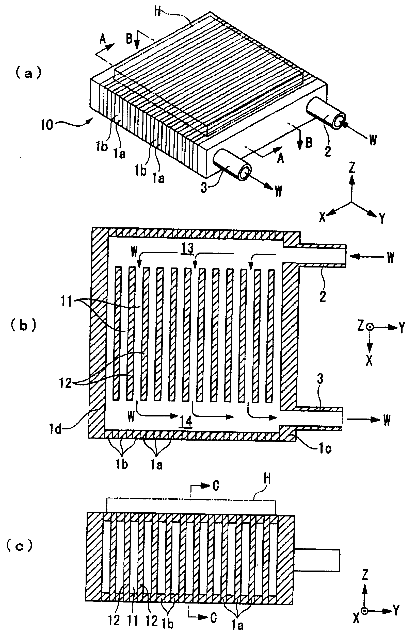
专利摘要:本发明提供了一种热交换器的除余水系统、装置、方法和燃气热水器,热交换器的除余水系统包括:泄流阀,设于热交换器的进水口和/或出水口;吹风系统,与热交换器的进水口或出水口连接;燃烧系统,设有排烟管路,排烟管路与吹风系统连接;控制器,与吹风系统和泄流阀分别通讯连接,控制器适于获取泄流阀的开启时间,使得控制器在泄流阀开启第一时间后启动吹风系统向热交换器的内水管吹风。该热交换器的除余水系统、装置、方法和燃气热水器,通过在泄流阀开启第一时间后启动吹风系统向热交换器内吹入热风,从而可以加快热交换器内的水分的排出,使得热交换器的内部没有残留水,从而可以达到防冻的效果。
今年以来格力电器新获得专利授权3678个,较去年同期减少了5.16%。结合公司2024年年报财务数据,2024年公司在研发方面投入了69.04亿元,同比增2.1%。
通过天眼查大数据分析,珠海格力电器股份有限公司共对外投资了101家企业,参与招投标项目27988次;财产线索方面有商标信息8135条,专利信息115189条,著作权信息297条;此外企业还拥有行政许可827个。
数据来源:天眼查APP
以上内容为证券之星据公开信息整理,由AI算法生成(网信算备310104345710301240019号),不构成投资建议。





