
图片来源于网络,如有侵权,请联系删除
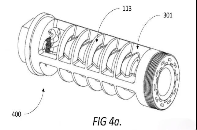
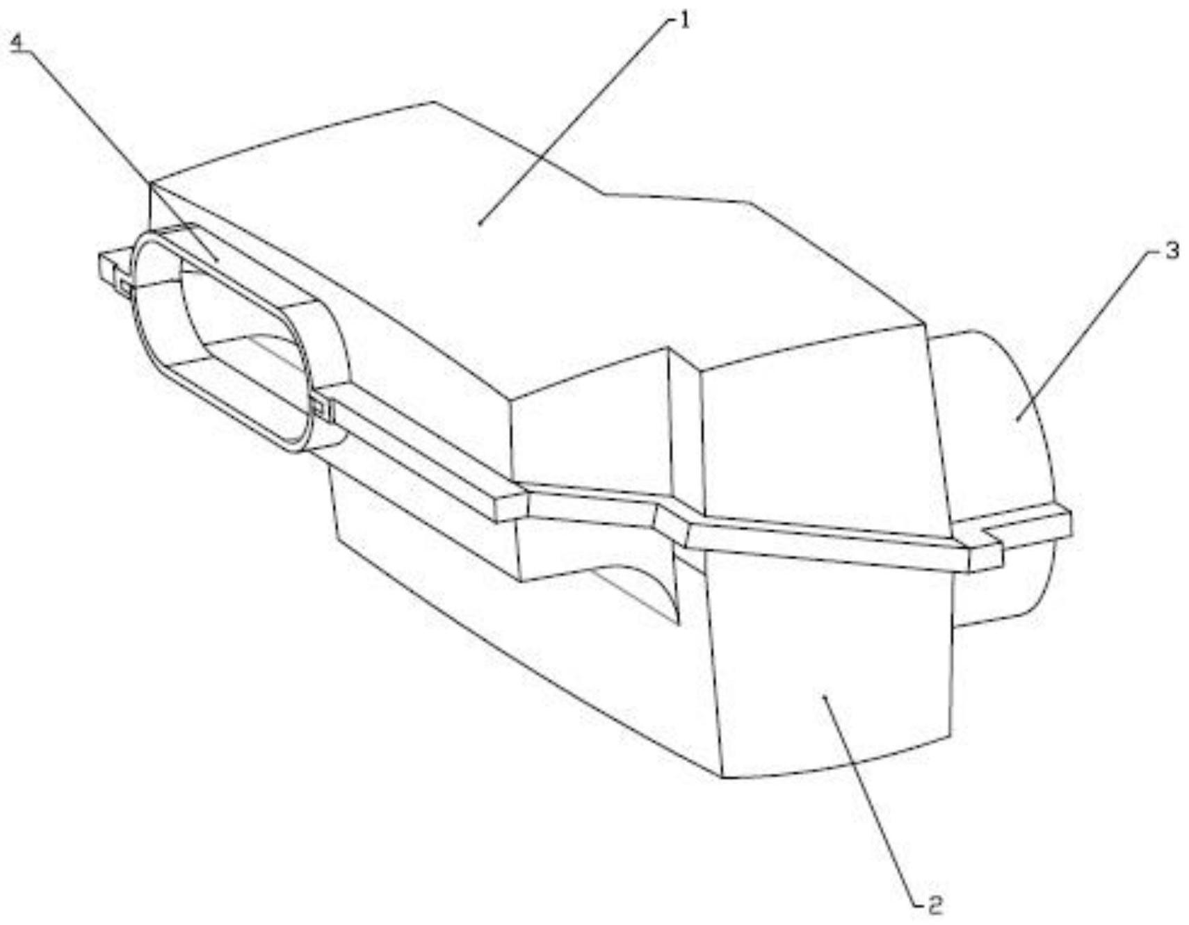
证券之星消息,根据企查查数据显示盾安环境(002011)公布了一项国际专利申请,专利名为“消音组件及具有其的电子膨胀阀”,专利申请号为PCT/CN2025/088113,国际公布日为2025年10月16日。
专利详情如下:

图片来源于网络,如有侵权,请联系删除
图片来源:世界知识产权组织(WIPO)
今年以来盾安环境已公布的国际专利申请49个,较去年同期增加了63.33%。结合公司2025年中报财务数据,今年上半年公司在研发方面投入了2.45亿元,同比增13.37%。
数据来源:企查查
以上内容为证券之星据公开信息整理,由AI算法生成(网信算备310104345710301240019号),不构成投资建议。





