
图片来源于网络,如有侵权,请联系删除
证券之星消息,根据天眼查APP数据显示宝丰能源(600989)新获得一项实用新型专利授权,专利名为“一种多峰聚乙烯薄膜生产设备”,专利申请号为CN202422375270.2,授权日为2025年7月11日。
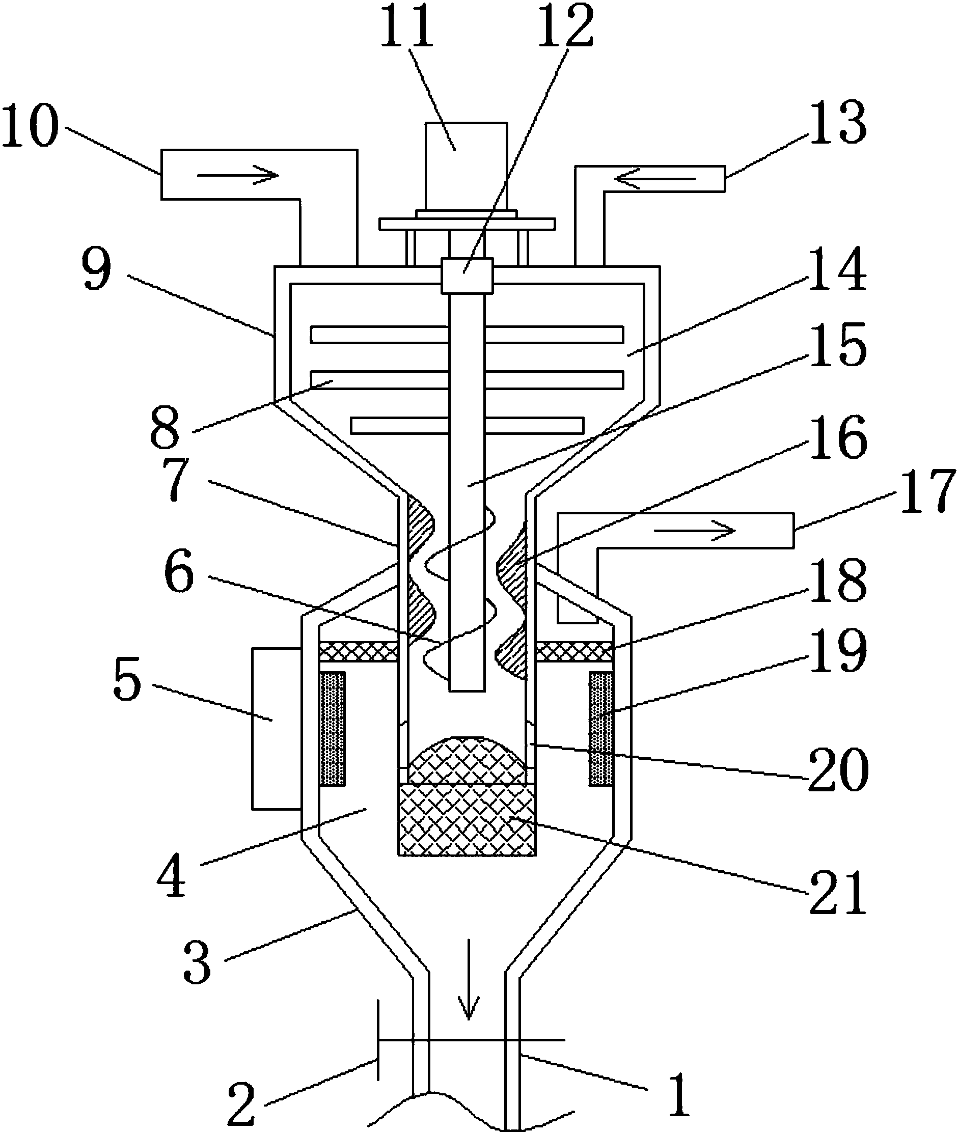
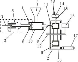
专利摘要:本实用新型涉及聚乙烯薄膜生产技术领域,且公开了一种多峰聚乙烯薄膜生产设备,包括混合筒,所述混合筒的外表面固定连接有若干数量的加热管,所述混合筒的底部固定连接有下料管,所述混合筒的上方设置有搅拌机构,所述下料管的内部设置有控制机构,所述下料管的下方设置有挤出机构,所述挤出机构包括第一输料管。本实用新型通过下料管底部连接的第一输料管,螺纹槽嵌合于第一输料管的右侧,螺纹管可以旋于螺纹槽的内部,第二输料管通过螺纹管可以与第一输料管之间进行螺纹连接,第三电机通过第二转动杆带动螺杆在第一输料管的内部进行转动,对原料进行旋转推进,从而可以达到方便操作人员对设备进行过拆装维护的作用。

图片来源于网络,如有侵权,请联系删除
今年以来宝丰能源新获得专利授权59个,较去年同期增加了25.53%。结合公司2024年年报财务数据,2024年公司在研发方面投入了7.56亿元,同比增75.41%。
通过天眼查大数据分析,宁夏宝丰能源集团股份有限公司共对外投资了16家企业,参与招投标项目7280次;财产线索方面有商标信息105条,专利信息443条,著作权信息91条;此外企业还拥有行政许可774个。
数据来源:天眼查APP
以上内容为证券之星据公开信息整理,由AI算法生成(网信算备310104345710301240019号),不构成投资建议。





