
图片来源于网络,如有侵权,请联系删除
证券之星消息,根据天眼查APP数据显示开立医疗(300633)新获得一项实用新型专利授权,专利名为“一种超声探头及超声设备”,专利申请号为CN202422461750.0,授权日为2025年10月24日。
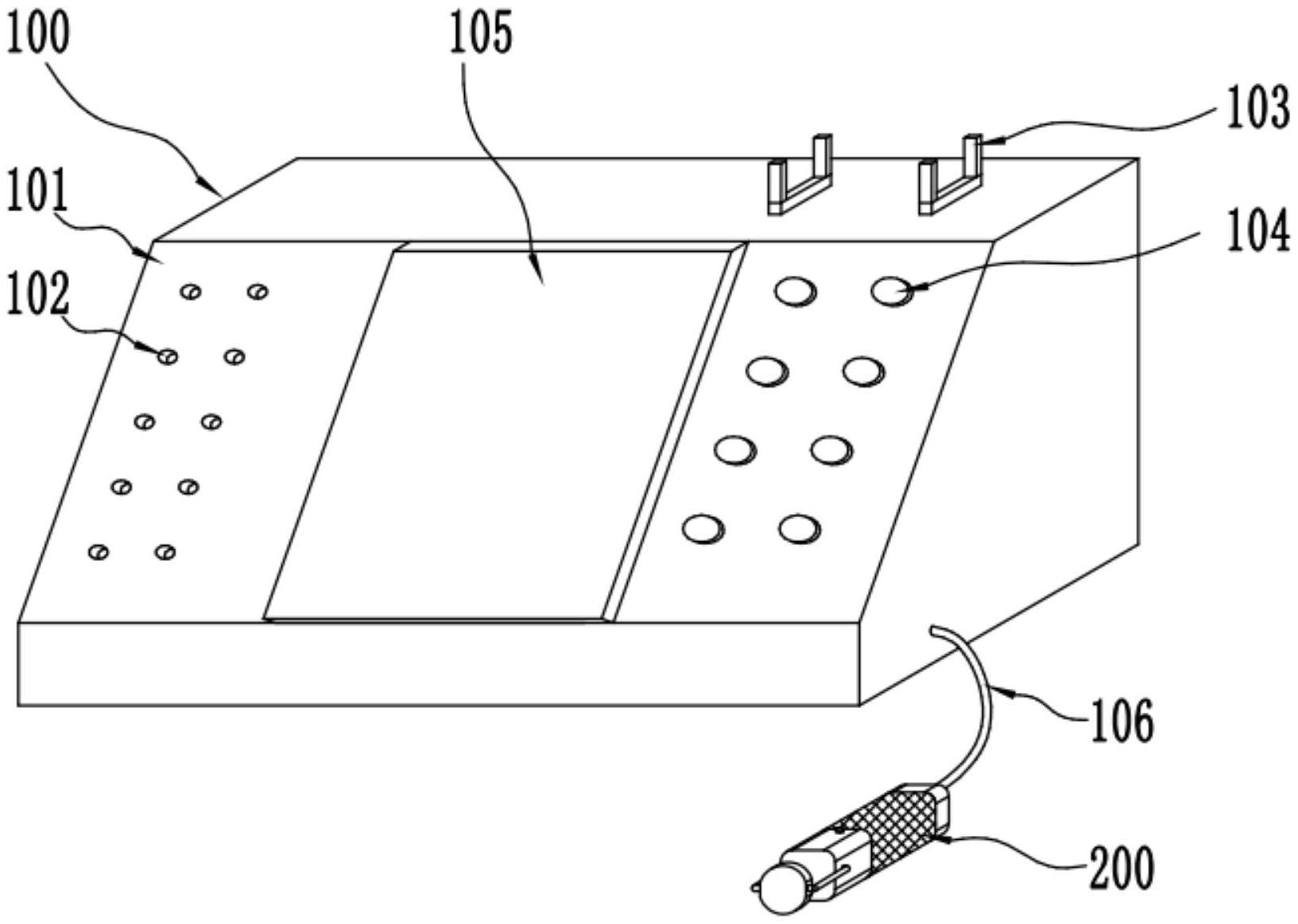
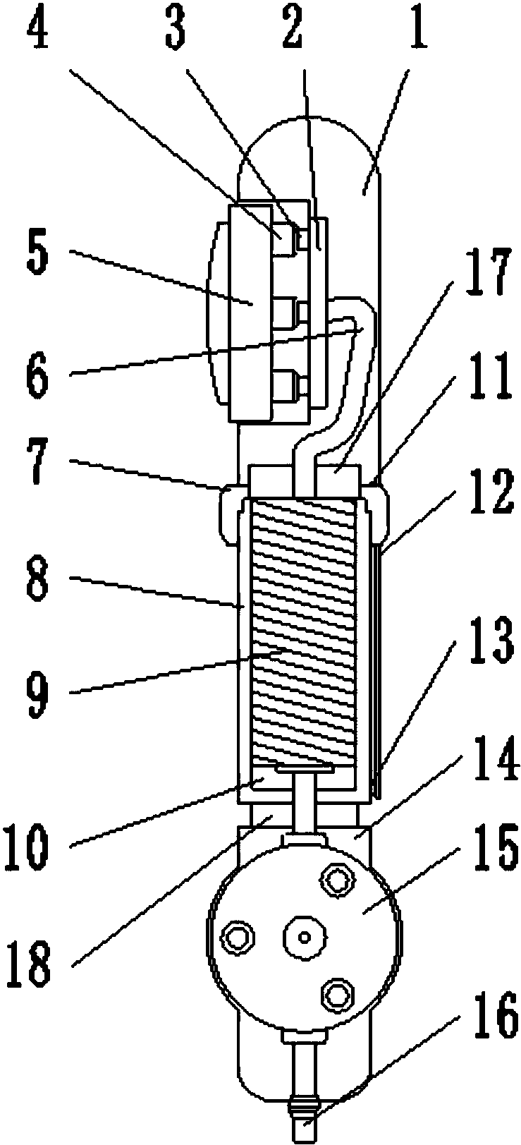
专利摘要:本申请涉及医疗器械技术领域,具体公开了一种超声探头及超声设备,包括头端部和握持部,头端部和握持部之间的过渡部位设有用于对超声主机进行控制操作的操作装置;以垂直穿过超声探头的中心阵元的阵元面的中心轴线为参考线,操作装置设于所述参考线的一侧。该超声探头及超声设备,用户可通过操作装置实现对超声主机的控制,避免了在主机操作所带来的不便。另外,通过将操作装置设于头端部和握持部之间的过渡部位,且位于参考线的一侧,用户能够以自然握持的方式来操作超声探头,同时避免了对操作装置的误触,因而用户无需适应性改变握持方式,提升了用户体验。

图片来源于网络,如有侵权,请联系删除
今年以来开立医疗新获得专利授权122个,较去年同期增加了22%。结合公司2025年中报财务数据,今年上半年公司在研发方面投入了2.44亿元,同比增15.01%。
通过天眼查大数据分析,深圳开立生物医疗科技股份有限公司共对外投资了12家企业,参与招投标项目2121次;财产线索方面有商标信息403条,专利信息1601条,著作权信息317条;此外企业还拥有行政许可274个。
数据来源:天眼查APP
以上内容为证券之星据公开信息整理,由AI算法生成(网信算备310104345710301240019号),不构成投资建议。





